摘要
一种5G通信基站一体化综合杆,包括杆体和箱体,杆体固定于箱体上;还包括天线抱杆、照明灯具、锚点天线、摄像装置和信息发布屏,天线抱杆、照明灯具、锚点天线、摄像装置、信息发布屏均固定于杆体上;天线抱杆、照明灯具、锚点天线、摄像装置和信息发布屏沿杆体自上而下布置,天线抱杆通过连接螺栓固定于杆体的顶部,摄像装置上设有环境监测装置。本实用新型能够提高综合杆的一体化程度和功能性,解决杆塔林立和网络、电缆、电器配置布局分散,及规划不合理的问题。

1.一种5G通信基站一体化综合杆,其特征在于:包括杆体和箱体,所述杆体固定于箱体上;还包括天线抱杆、照明灯具、锚点天线、摄像装置和信息发布屏,所述天线抱杆、照明灯具、锚点天线、摄像装置、信息发布屏均固定于杆体上;
所述天线抱杆、照明灯具、锚点天线、摄像装置和信息发布屏沿杆体自上而下布置,所述天线抱杆通过连接螺栓固定于杆体的顶部,所述摄像装置上设有环境监测装置。
2.如权利要求1所述的5G通信基站一体化综合杆,其特征在于:所述杆体和箱体之间通过法兰连接。
3.如权利要求1或者2所述的5G通信基站一体化综合杆,其特征在于:所述箱体内容置有通信设备。
4.如权利要求1或者2所述的5G通信基站一体化综合杆,其特征在于:所述天线抱杆的顶部上设有避雷针。
5.如权利要求1或者2所述的5G通信基站一体化综合杆,其特征在于:所述照明灯具通过灯臂固定在杆体上,所述灯臂通过连接螺栓固定于杆体上。
6.如权利要求1或者2所述的5G通信基站一体化综合杆,其特征在于:所述锚点天线通过天线连接臂固定在杆体上,所述天线连接臂通过连接螺栓固定于杆体上。
7.如权利要求1或者2所述的5G通信基站一体化综合杆,其特征在于:所述摄像装置通过摄像连接臂固定在杆体上,所述摄像连接臂通过连接螺栓固定于杆体上,所述环境监测装置通过连接螺栓固定在摄像连接臂上。
8.如权利要求1或者2所述的5G通信基站一体化综合杆,其特征在于:所述信息发布屏通过连接螺栓固定在杆体上。
9.如权利要求1或者2所述的5G通信基站一体化综合杆,其特征在于:所述杆体上设有防水槽,所述防水槽位于信息发布屏的一侧。
一种5G通信基站一体化综合杆
技术领域
[0001] 本实用新型涉及一种综合杆,尤其涉及一种5G通信基站一体化综合杆。
背景技术
[0002] 当前不少城市存在着由路灯杆、电力杆(塔)、监控杆、交通指示牌、广告牌、微基站 等基础设施管理分散、功能单一,引发的杆塔林立和网络、电缆、电器配置布局分散,及规划 不合理等问题。
实用新型内容
[0003] 为了克服现有技术的不足,本实用新型的目的在于提供一种5G通信基站一体化综 合杆,能够提高综合杆的一体化程度和功能性,解决杆塔林立和网络、电缆、电器配置布局 分散,及规划不合理的问题。
[0004] 本实用新型的目的采用如下技术方案实现:
[0005] 一种5G通信基站一体化综合杆,包括杆体和箱体,所述杆体固定于箱体上;还包括 天线抱杆、照明灯具、锚点天线、摄像装置和信息发布屏,所述天线抱杆、照明灯具、锚点天 线、摄像装置、信息发布屏均固定于杆体上;
[0006] 所述天线抱杆、照明灯具、锚点天线、摄像装置和信息发布屏沿杆体自上而下布 置,所述天线抱杆通过连接螺栓固定于杆体的顶部,所述摄像装置上设有环境监测装置。 [0007] 进一步地,所述杆体和箱体之间通过法兰连接。
[0008] 进一步地,所述箱体内容置有通信设备。
[0009] 进一步地,所述天线抱杆的顶部上设有避雷针。
[0010] 进一步地,所述照明灯具通过灯臂固定在杆体上,所述灯臂通过连接螺栓固定于杆体上。
[0011] 进一步地,所述锚点天线通过天线连接臂固定在杆体上,所述天线连接臂通过连 接螺栓固定于杆体上。
[0012] 进一步地,所述摄像装置通过摄像连接臂固定在杆体上,所述摄像连接臂通过连 接螺栓固定于杆体上,所述环境监测装置通过连接螺栓固定在摄像连接臂上。
[0013] 进一步地,所述信息发布屏通过连接螺栓固定在杆体上。
[0014] 进一步地,所述杆体上设有防水槽,所述防水槽位于信息发布屏的一侧。
[0015] 相比现有技术,本实用新型的有益效果在于:
[0016] (1)载荷性强,能承载通信、照明、交通等功能设备;
[0017] (2)节省空间,综合性强,可实现“多杆合一”“一杆多用”,做到杆体和多种功能设 备一体化;
[0018] (3)造型优美,美化城市;
[0019] (4)功能多,实用性强,具有科技创新、智能便捷的特点。
附图说明
[0020]图1为本实用新型的结构示意图;
[0021]图2为本实用新型中天线抱杆的结构示意图;
[0022]图3为本实用新型中照明灯具的结构示意图;
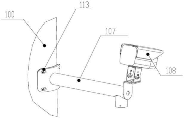
[0023]图4为本实用新型中天线连接臂的结构示意图;
[0024]图5为本实用新型中枪机摄像头的结构示意图;
[0025]图6为本实用新型中球机摄像头的结构示意图;
[0026]图7为本实用新型中信息发布屏的结构示意图;
[0027]图8为本实用新型中箱体的结构示意图。
[0028]图中:100、杆体;200、箱体;300、前门组件;400、后门组件;101、天线抱杆;102、避雷针;103、灯臂;104、照明灯具;105、天线连接臂;106、馈线孔;107、右连接臂;108、枪机摄 像头;109、左连接臂;110、环境监测装置;111、球机摄像头;112、信息发布屏;113、连接螺 栓;114、防水槽;201、通信设备。
具体实施方式
[0029] 下面,结合附图以及具体实施方式,对本实用新型做进一步描述,需要说明的是,在不相冲突的前提下,以下描述的各实施例之间或各技术特征之间可以任意组合形成新的实施例。
[0030] 如图1-8所示的一种5G通信基站一体化综合杆,包括杆体100和箱体200,杆体100 固定于箱体200上,箱体200固定于地面上;还包括天线抱杆101、照明灯具104、锚点天线、摄 像装置和信息发布屏112,天线抱杆101、照明灯具104、锚点天线、摄像装置、信息发布屏112 均固定于杆体100上。

图一

图二

图三

图四

图五

图六

图七

图八
[0031] 具体地,天线抱杆101、照明灯具104、锚点天线、摄像装置和信息发布屏112沿杆体 100自上而下布置,天线抱杆101通过连接螺栓113固定于杆体100的顶部,摄像装置上设有 环境监测装置110,该环境监测装置110能够对环境质量进行监测,有利于提高环境质量。
[0032] 需要说明的是,杆体100和箱体200之间通过法兰连接,采用连接螺栓113紧固。
[0033] 需要强调的是,箱体200上设有前门组件300和后门组件400,能够对箱体200内部腔室进行打开或者关闭。箱体200内部腔室中容置有通信设备201,以便实现通信功能。
[0034] 值得一提的是,天线抱杆101的顶部上设有避雷针102。
[0035] 优选地,照明灯具104通过灯臂103固定在杆体100上,灯臂103通过连接螺栓113固 定于杆体100上。
[0036] 更佳的实施方式是,锚点天线通过天线连接臂105固定在杆体100上,天线连接臂105通过连接螺栓113固定于杆体100上。在本实施例中,锚点天线优选为FDD锚点天线。
[0037] 在杆体100还设有馈线孔106,该馈线孔106位于天线连接臂105的下侧。
[0038] 另外,摄像装置通过摄像连接臂固定在杆体100上,摄像连接臂通过连接螺栓113 固定于杆体100上,环境监测装置110通过连接螺栓113固定在摄像连接臂上,其中,环境监 测装置110上的连接螺栓113为U型螺栓,即环境监测装置110通过U型螺栓固定在摄像连接臂上。
[0039] 作为本实施例中一种较佳的实施方式,摄像装置包括枪机摄像头108和球机摄像头111,摄像连接臂包括左连接臂109和右连接臂107,球机摄像头111通过左连接臂109设于 杆体100的左侧,枪机摄像头108通过右连接臂107设于杆体100的右侧,通过枪机摄像头108 和球机摄像头111有利于对交通进行全方位的摄像监控,环境监测装置110、球机摄像头111 分别位于左连接臂109的上下两侧,从而实现交通和环境监测功能。
[0040] 优选地,信息发布屏112通过连接螺栓113固定在杆体100上。在本实施例中,信息 发布屏112优选为LED信息发布屏112,具有广播、公告功能。
[0041] 此外,杆体100上设有防水槽114,防水槽114位于信息发布屏112的一侧。优选地, 该防水槽114向杆体100下侧倾斜,水由于表面张力作用,沿防水槽114下边缘流下,能够有 效避免水分从杆体100下侧进入杆体100内,进一步保护了本综合杆。
[0042] 随着5G技术的成熟和云网端一体化的健全,物联网万物互联的时代已然到来。而 5G通信基站一体化综合杆,就是集5G微站等多功能于一体的综合灯杆,既可以发展智慧照 明的功能,又可以跨界智慧城市,成为物联网基础设施的载体。故本实用新型的目的是为了 提供一种集通信、智慧照明、交通和环境监测、联动广播和公告屏显示、物联网大数据等功 能于一体的多功能型综合杆。根据各自应用设备的实现方式,通信天线和基站设备安装于 杆体100上部位置,实现相对最大的覆盖范围,承载着通信及物联网大数据传输功能;灯具 照明安装在杆体100中部适宜位置实现最优的照度亮化;交通和环境监测设备及广播、公告 屏安装在杆体100的中下部位置,实现最有效交通控制和环境监测,结合广播、发布屏等辅 助设备使其功能发挥的更智能化、人性化。从而使本综合杆既美化城市又给人们的生活带 来便利。
[0043] 综上,本综合杆是集通信、智慧照明、交通和环境监测、联动广播和公告屏显示、物 联网大数据等功能于一体的多功能型综合杆。故本综合杆至少具有以下有益效果:
[0044] (1)载荷性强,能承载通信、照明、交通等功能设备;
[0045] (2)节省空间,综合性强,可实现“多杆合一”“一杆多用”,做到杆体100和多种功能 设备一体化;
[0046] (3)造型优美,美化城市;
[0047] (4)功能多,实用性强,具有科技创新、智能便捷的特点。
[0048] 可以理解的是,杆体100上安装设备和标志物包括但不限于以上所列部分,可根据需要扩展安装其它智能设备和标志物。
[0049] 上述实施方式仅为本实用新型的优选实施方式,不能以此来限定本实用新型保护 的范围,本领域的技术人员在本实用新型的基础上所做的任何非实质性的变化及替换均属于本实用新型所要求保护的范围。